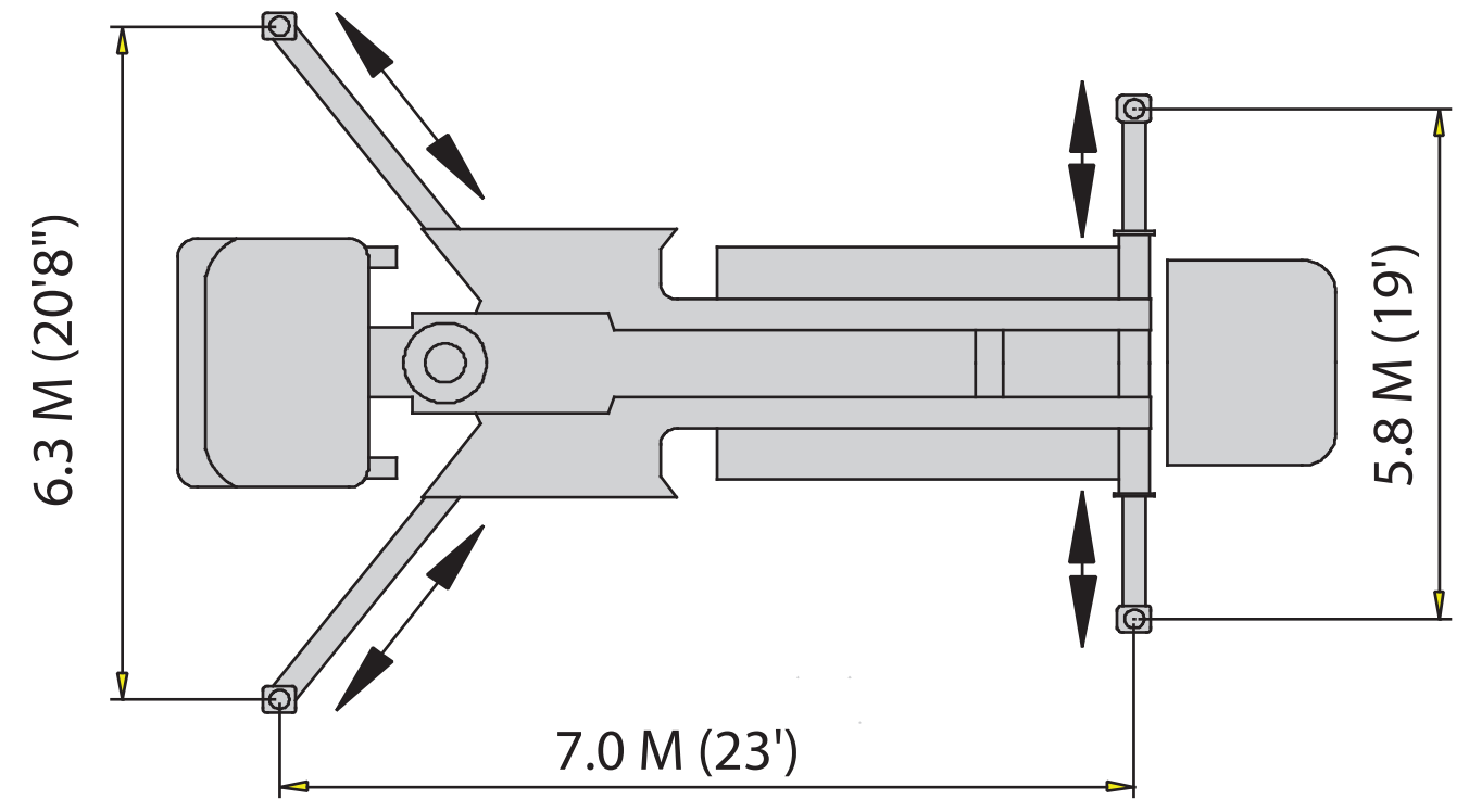
32M 5-Section ZZ Concrete Boom
Our 32 Meter ZZ Boom is a specialist in working inside existing structures, due to its low unfolding height. It also works well under bridge decks, power-lines or any other situation where the operator has to deal with overhead obstructions. Of course, it also works well as a regular 32 Meter! Extremely versatile!
Click image for full view.
